融景居一大平层:
竞价22轮,以低于评估价528万成交
老思明又有豪宅低于市场价成交了!
就在昨日(10月11日),位于思明区湖滨南路的融景居一套266.23㎡房源成功拍出。
该房源评估价2329.7万元,起拍总价1630.79万元,吸引了3人报名参加。
经过近2个小时22轮竞价,最终以1800.79万成交,低于评估价528.91万。算下来,该房源成交单价约6.12万/㎡。
评估报告显示,该拍卖房源于2006年建成,位于第7层,内部已装修,综合成新约7.5成新。
图源:阿里拍卖
融景居位于筼筜湖畔,由1栋高层住宅楼组成,容积率较大、建筑密度较大、绿化率较低。
小区前后无遮挡,可俯瞰一线湖景;周边有市教科院附小、滨北小学、外国语中学、白鹭洲公园等环绕,居住氛围浓厚。
图源:阿里拍卖
目前,在二手房平台上,融景居有多套建面约184-281㎡四至五房户型房源在售,挂牌单价在8.5-12.5万/㎡。对比下来,这套法拍房源算是妥妥的“捡漏”了。
银聚祥邸一空中墅:
50轮出价,低于评估价1471万成交
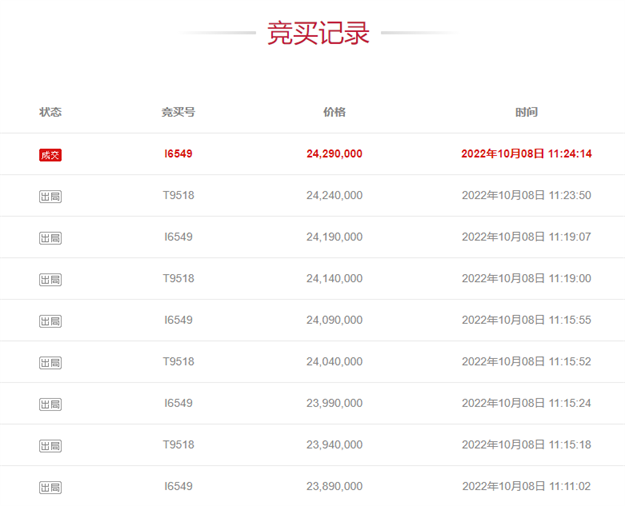
此外,位于禾祥西的银聚祥邸,一套626.79㎡楼中楼在二次拍卖中成功拍出。
据悉,该房源评估价3900万,二次起拍价2184万,吸引了22461次围观,7人报名,经过50轮竞拍,最终以2429万总价成交,折合成交单价3.87万/㎡。
值得一提的是,该房源曾在8月4日以2184万总价成功拍出,但该标的物于9月9日确定交易未履行。
截图自阿里拍卖
根据评估报告显示,该拍卖房源于2009年建成,位于第6-7层,一层六户,南北朝向,结构布局为楼中楼,户型共为五房二厅一厨六卫三阳台一露台,露台面积较大,视野景观较好,使用功能好,室内为中高档装修。
图源:阿里拍卖
银聚祥邸作为岛内老牌豪宅,仅有1栋超高层,除了低楼层的几套357㎡房源,其余均为五、六百平米的空中墅,早在2005年,每一套房源总价都已经是千万级别。
在二手房平台上,小区鲜有别墅房源挂出。
当前,有一套建面约518.32㎡4房2厅房源,挂牌单价在5.59万/㎡左右。对比下来,这套成交的法拍房源,单价远低于当前市场价。
可以看到,法拍房市场上,老思明二手豪宅成交热度居高不下。
究其动因,除了占据核心地段、具有明显的价差优势之外,还与老城区豪宅供应有限,顶端购买力无处倾泻有关。
值得一提的是,眼下老思明迎来了久违的新面孔——建发·壹里,随着新盘入市,顶端购买力还将大量释放。





















闽公网安备 35020302035470号
最新评论