13宗涉宅地块成交10宗!
3宗摇号!最高楼面价26421元/㎡!
揽金88.56亿!
就在刚刚,
福州2022年第二轮集中土拍落幕!
今天上午9点,福州主城区再度迎来宅地争夺战!
本次推出的13宗涉宅地块,出让总面积约33.8万㎡,总建面约76.69万㎡,总起拍价123.23亿,最高起拍楼面价约23021.4元/㎡,最高销售指导均价45000元/㎡。
其中,晋安10宗、仓山3宗,台江、马尾罕见未参与供地。
与以往不同,本次土拍更加考验参拍房企背后的现金流实力:
全部采用“限地价、竞首期付款比例、摇号”方式拍卖出让,当首付款比例达100%时,则通过摇号确定竞买人。
由于第一批次土拍结果并未尽如人意,zf对本轮推出的地块做了不少让利——
13宗住宅地块中,纯商品房10宗,占比为历次新高;
“回炉”地块,起拍价下调,降幅在2000-7000不等;
奥体、东升销售指导均价小幅上调
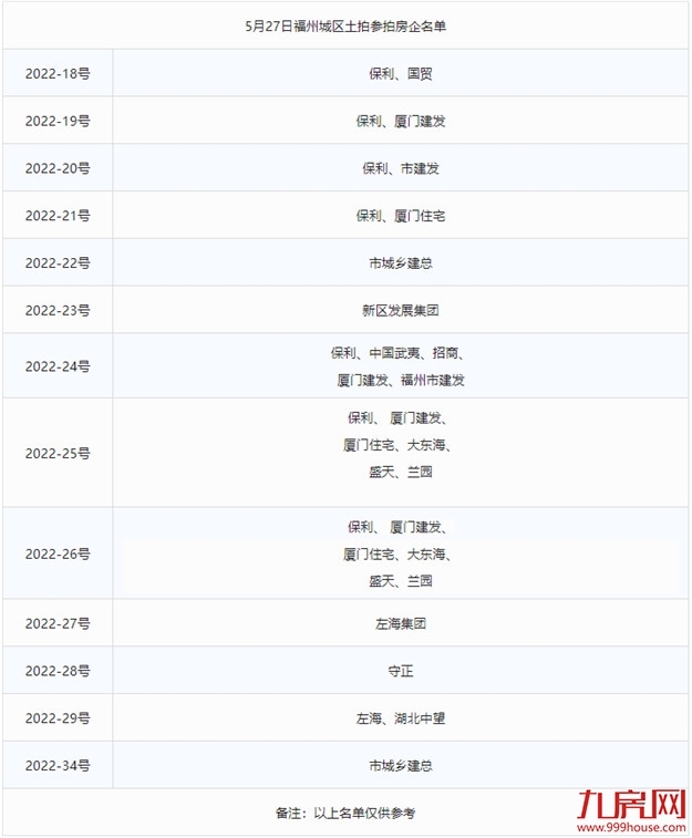
地块优质、低门槛、及一定程度上提高的利润空间,也引来28家房企前来参拍↓↓↓
赶紧来看看土拍现场情况↓↓↓
2022-18号
2022-18号地块曾与上轮土拍中取消出让,此次重新上架,起拍总价由32.51亿降至24.56亿,起始楼面价下降了约7300元/㎡。
地块鼓励建设“立体生态住宅”,且根据补充公告内容,空中花园部分面积不计容,但被计入单套建筑面积当中。
这意味着地块竞得人在满足条件的情况下,可以对户型阳台部分进行更多的面积规划和设计建造,后期售卖时可以以“阳台赠送面积”为卖点,创造溢价空间。
仅1轮竞价,福州国贸拿下!成交总价24.56亿!成交楼面价22644元/㎡,底价成交。
2022-19号
奥体2022-19号地块,曾与此前两度上架,但均未能顺利出让。
本次重新亮相,起拍总价下调至17.53亿(首次22.39亿、第二次为20.31亿),住宅销售指导均价则上调至3.1万/㎡,但配建商贸楼由回购改为无偿移交。
遗憾的是,现场仍无人竞拍,地块再次取消出让。
2022-20号
晋安湖东侧宅地2022-20号,出让面积23615㎡,起始总价16亿,起拍楼面价22585元/㎡,销售指导均价为4.2万/㎡。
同样是一轮报价,福建榕发置业以16亿、楼面价22585元/㎡底价竞得该地块!
2022-21号
地铁4号线横屿站西侧2022-21号地块,出让面积21333㎡(约32亩),起拍总价13.35亿、起拍楼面价约22349.7元/㎡,销售指导均价为4.2万/㎡。
2分钟过去,现场无人应价,地块流拍。
2022-22号
宗地2022-22号、2022-23号同样是老面孔,这两宗地曾于一批次时作为一块整体(即2022-03号地块)亮相,由于总价超过22亿,对房企资金要求较高,最终不得不取消出让。
本次经拆分两幅后再次推出,总起始价由22.11亿降低为19.9亿元,直降2.21亿元,指导均价由2.9万/㎡增长至2.95万/㎡。
2022-22号地块率先开拍,仅1家房企参拍。
榕圣市政以底价轻而易举拿下,成交楼面价15542元/㎡,总价12.24亿。
2022-23号
宗地2022-23号(仓山东升旧厂房出让地块一),出让面积28338㎡,起拍总价7.66亿、起拍楼面价约13515.4元/㎡,指导均价为2.95万/㎡。
仅1家房企参拍。
一轮秒杀,三江口建设以7.66亿,楼面价13515元/㎡拿下,底价成交。
2022-24号
东二环塔头2022-24号地块,起拍总价7.64亿、起始楼面价约21575元/㎡,最高限价8.78亿,销售指导均价为3.5万/㎡。
地块占地面积24.14亩,形状方正、三面临路,且无任何配建回购要求,为纯商品住宅用地,开发条件优越。
保利、厦门建发、中国武夷、榕发等4家房企展开争夺。
举牌17次后,保利以8.12亿拿下,成交楼面价22931元/㎡,溢价率6%。
2022-25号
晋安湖北侧2022-25号地块,出让面积6823㎡,起拍总价4亿,起始楼面价约22548.2元/㎡,最高限价4.6亿,指导均价为4.5万/㎡。
地块体量小,总价低,房企拿地压力也相对较小,为本场土拍的重头戏。
超11家房企为之大打出手。
一开始,厦门住宅和福清融湾置业先后报价,四个回合后,厦门建发和广西盛天加入参战。
毫无悬念,不到十分钟,在福清融湾置业的叫价下,触顶最高限价,进入“竞首付”环节。
厦门住宅、福清融湾置业继续拼实力,最后,厦门建发直接喊至首付比100%进入摇号环节。
7家房企参与摇号!
幸运儿诞生!厦门建发以4.6亿+100%首付摇号竞得,成交楼面价25930元/㎡,溢价率15%。
2022-26号
晋安湖北侧2022-26号地块,出让面积9315㎡,起拍总价3.86亿,起拍楼面价约23021.4元/㎡,最高限价4.43亿,指导均价为4.5万/㎡。
10家房企虎视眈眈。
兰园、厦门住宅、厦门建发先后混战,12轮报价后,厦门建发叫价至最高限价4.43亿,进入竞首付!
厦门住宅和厦门建发以5%的幅度轮番加价,厦门建发再次喊至100%!进入换号环节!
4家退出,共6家房企参与摇号!
最终,厦门建发以4.43亿+100%首付摇号夺得,成交楼面价26421元/㎡,溢价率15%。
2022-27号
东三环宗地2022-27号同样也是“回锅”地块,在今年一批次中取消出让。
本次重新入市,起拍总价由9.96亿下调至6.53亿,降价幅度高达30%,但地块配建规模大:
须配建安置型商品房59575㎡、须建设建筑面积20000㎡自持社会租赁住房、须建设不低于1000㎡的社区综合服务中心1处,须建设不低于2000㎡的居家养老服务照料中心(含长者食堂)1处
一轮报价后,福州工业园区开发集团轻松竞得,总价6.53亿,楼面价6206元/㎡,底价成交!
2022-28号
晋安华塑小区地块2022-28号,出让面积15905㎡,起始价5.5亿、起始楼面价约11722.1元/㎡,销售指导均价为3.8万/㎡。
地块须配建安置型商品房34755㎡、须建设不低于1300㎡的社区综合服务中心(含长者食堂)1处,须建设3700㎡商业建筑。
现场无人应价,地块流拍。
2022-29号
五四北2022-29号地块,需100%建设自持社会租赁住房,湖北中望、福州索高置业、福州工业园区开发集团等5家房企参拍。
4轮举牌后达到最高限价,进入竞首付环节。
速战速战,不到5分钟,首付比100%!转入摇号!5家竞买人全部参与摇号!
结果出炉!福州工业园区开发集团,以总价0.49亿元+100%首付摇号竞得,楼面价2865元/㎡。
2022-34号
晋安洋下旧屋区改造地块2022-34号,出让面积8723㎡,起拍总价3.93亿、起始楼面价约21454元/㎡。指导均价为3.8万/㎡。
榕圣市政一轮报价,总价3.93亿,楼面价21454元/㎡!底价成交!
从这次土拍的结果可以看出两个比较明显的特点:
1、土拍热度呈现两级分化。核心地段的地块竞争激烈,晋安湖北侧地块遭疯抢进入到摇号环节,而边缘区域的地块趋冷,底价成交较多,甚至流拍。
而对买房人来说,土拍活跃与否,一定程度上也代表了区域热度。
2、与首轮土拍一样,此次拿地主力仍是国企、央企。
虽然近期福州出台了一系列楼市利好政策,但过去大半年时间里大伤元气的民企们,依然缺乏拿地的资金和勇气,需要一定的缓冲恢复时间。
另外,近期全国各地“救市”奇招频出,福州也在土拍前出台了首套房贷利率降至4.25%、限购松绑、优化公积金支付首付等利好政策。
虽然众多网友表示政策力度还不大,但或多或少能提振一点市场的预期和信心。近期想要购房置业的,或许可以在这场土拍后,观望下市场热度再下手。
最后,对于今天福州的土拍情况,各位小伙伴有何看法?























闽公网安备 35020302035470号
最新评论